
产品时间:2021-05-23
简要描述:
电磁式水 表是专为水工业设计,满足城市供水及水资源管理系统(RTU),提供信息管理服务,确保准确的水费计算,广泛应用于现场无电源供应的场所,如:城市供水、污水处···
|
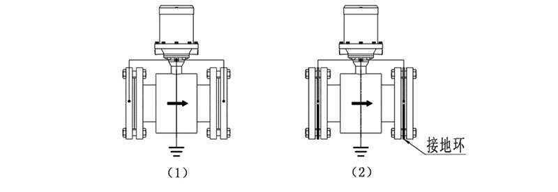
电磁式水表是专为水工业设计,满足城市供水及水资源管理系统(RTU),提供信息管理服务,确保准确的水费计算,广泛应用于现场无电源供应的场所,如:城市供水、污水处理、水利工程等水资源管理行业。 电池供电电磁流量计采用特殊设计的传感器励磁系统和高性能锂电池供电系统,并采用了16位嵌入式超微功耗处理器,全数字量信号处理,具有工作稳定、测量精度高、抗干扰能力强等特点,实现自动双向流量测量,现场瞬时流量、正反向累计总量显示,自诊断故障报警和GSM/GPRS数据无线远传等功能,用户通过强大的GSM/GPRS远程监控管理软件系统可实现流量数据的无线远传、存储等功能。 ![]() ●仪表结构简单、可靠,无可懂部件,工作寿命长 ●无截流阻流部件,不存在压力损失和流体堵塞现象 ●无机械惯性,响应快速,稳定性好,可应用于自动检测、调节程控系统 ●测量精度不受被测介质的种类及其温度、粘度、压力等物理量参数的影响,精度高 ●采用聚四氟乙烯或橡胶材质衬里和HC、HB、316L、钛等电极材料的不同组合可使用不同介质的需要 ●无线传输,GPRS远程在线设置和短信息远传设计功能 ●3.6V电池供电,低功耗 ![]() ![]() ![]() 1. 通用要求 a、为了安装、维护、保养方便,在流量计周围需保留足够的空间 b、避免流量计安装在温度变化很大或受到设备高温辐射的场所 c、流量计应安装在室内,如安装在室外,应避免阳光直射,必要时请安装防晒装置 d、避免流量计安装在含有腐蚀性气体的环境中 e、避免流量计安装在有强振动源、强磁场的场所 2. 工艺管要求 a、 上、下游工艺管的内径与流量计的内径应满足:0.98DN≤D≤1.05DN(DN:流量计内径;D:工艺管内径) b、工艺管与流量计需同心,同轴偏差不大于0.05DN ![]() 2.1直管段 使用直管段可防止介质因弯管、TT型三通、截止阀、变径管的影响而产生涡流或失真 ![]() 3.接地 流量计必须按规定接地,以保证流量计可靠的工作、防止操作人员收到电击 ![]() |